Данко-Бриз-5С – газовий конвектор, призначений для обігріву окремих приміщень в індивідуальних житлових будинках, дачах, квартирах, офісах, магазинах, виробничо-господарських та адміністративних будівлях. Конвектори використовуються, коли немає необхідності в монтажі традиційної системи опалення.
Конвектор оснащений сталевим теплообмінником, який всередині і зовні покритий шаром емалі для захисту від вогню та іржі. Основним регулюючим і захисним елементом конвектору є спеціальний газовий клапан EUROSIT, який дозволяє регулювати температуру нагрівання приміщення в діапазоні 13-38°С. Низьковогняний пальник конвектору виготовлений з нержавіючої сталі. Простота управління забезпечується п'єзоелектричним розпалом (котел запалюється простим натисканням кнопки). Конструкція облицювання конвектора забезпечує безперешкодну конвекцію гарячого повітря.
Переваги:
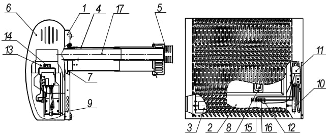
Будова конвектору

1-корпус; 2-сталевий теплообмінник; 3-пальник основний; 4-повітропровід; 5-захисна решітка; 6-кожух декоративний; 7-ущільнюючий шнур; 8-оглядовий отвір; 9-патрубок для приєднання до газової магістралі; 10-термодатчик клапана; 11-автоматика 630 EUROSIT; 12-запалювальний пальник; 13-п’єзозапальничка; 14-терморегулятор; 15-термопара; 16-запалювальний електрод; 17-димохід.
Технічні характеристики
| Найменування параметру | Данко-Бриз-5С |
| Вид газу | Природний ГОСТ 5542 Зріджений ГОСТ 20448 |
| Максимальний тиск природного газу, Па | 1764 |
| Номінальний тиск природного газу, Па | 1274 |
| Мінімальний тиск природного газу, Па | 635 |
| Витрата природного газу, м³/год | 0,57 |
| Витрата зрідженого газу, м³/год ±10% | 0,22 |
| Номінальна теплопродуктивність, кВт, ±10% | 5 |
| Діапазон регулювання температури, °С ± 2 °С | 13 – 38 |
| Коефіцієнт корисної дії, % | 86 |
| Розрідження за апаратом, Па | 25 |
| Опалювальний об'єм, м³ | До 120 |
| Діаметр труби для підведення повітря в камеру згорання, мм | 160 |
| Діаметр труби для відводу продуктів згорання, мм | 90 |
| Температура продуктів згорання, °С, не менше | 110 |
| Діаметри приєднувальних патрубків, до системи газопостачання, дюйм | G ½ В |
| Маса, кг, не більше | 35 |
Відгуків про цей товар ще не було.
Немає відгуків про цей товар, станьте першим, залиште свій відгук.
Немає питань про даний товар, станьте першим і задайте своє питання.