Акція! До кожного котла засіб для чищення димоходів Savent в подарунок!
Конвектор твердопаливний пелетний Данко 6 кВт призначений для опалення гаражів, дач, господарських приміщень об'ємом до 125 м3. Працює на гранулах (пелетах) з дерева, керування ручне. Конвектор не потребує електроживлення, працює автономно.
Пелетний конвектор виготовлений із сталі марки Ст3 завтовшки не менше 2 мм. Завдяки конструкції камери згорання димові гази згорають з високою ефективністю, тому на виході димоходу практично не видно диму. Експлуатація дозволяється з димаходом діаметром не менше 100 мм і висотою не менше 3 метрів.
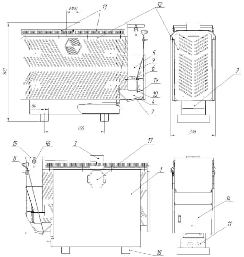
Конструкція конвектора

1-корпус; 2-сталевий теплообмінник; 3-димохід; 4-пальник; 5-бункер; 6-шибер; 7-система приводу рухомого колосника; 8-тяга приводу рухомого колосника; 9-тяга приводу заслінки пальника; 10-заслінка пальника; 11-зольниковий ящик; 12-декоративний кожух; 13-верхня кришка лицювання; 14-дверка; 15-кришка бункера; 16-защіпка; 17-лючок боковий; 18-опора; 19-вкладиш пальника.
Технічні характеристики
| Найменування параметру | Данко 6 кВт |
| Розрахунковий вид палива | пелети з дерева |
| Номінальна теплопродуктивність, кВт, ±10% | 6 |
| Номінальна витрата палива, кг/год | 1.43 |
| Коефіцієнт корисної дії, %, не нижче | 85 |
| Розрідження за апаратом, Па | 10-25 |
| Висота димоходу, м, не менше | 3 |
| Температура продуктів згоряння, °С, не менше | 200 |
| Об’єм бункера, л | 10 |
| Робочий цикл котла, при номінальній потужності, год, не менше | 4,5 |
| Температура стінок теплообмінника, °С , не більше | 200 |
| Температура облицювання, °С , не більше | 70 |
| Габаритні розміри, мм, ВхШхГ | 740х320х935 |
| Приєднувальні розміри до димоходу, D, мм | 100 |
| Маса, кг, не більше | 39 |
Нет отзывов о данном товаре.
Нет отзывов о данном товаре, станьте первым, оставьте свой отзыв.
Нет вопросов о данном товаре, станьте первым и задайте свой вопрос.