Данко-Бриз-3С – газовый конвектор, предназначен для обогрева отдельных помещений в индивидуальных жилых домах, дачах, квартирах, офисах, магазинах, производственно-хозяйственных и административных зданиях. Конвекторы используются, когда нет необходимости в монтаже традиционной системы отопления.
Конвектор оснащен стальным теплообменником, который внутри и снаружи покрыт слоем эмали для защиты от огня и ржавчины. Основным регулирующим и защитным элементом конвектора является специальный газовый клапан EUROSIT, который позволяет регулировать температуру нагрева помещения в диапазоне 13-38°С. Низкопламенная горелка конвектора изготовлена из нержавеющей стали. Простота управления обеспечивается пьезоэлектрическим розжигом (котел зажигается простым нажатием кнопки). Конструкция облицовки конвектора обеспечивает беспрепятственную конвекцию горячего воздуха.
Преимущества:
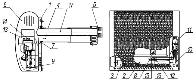
Строение конвектора

1-корпус; 2-стальной теплообменник; 3-горелка основная; 4-воздуховод; 5-защитная решетка; 6-кожух декоративный; 7-уплотнительный шнур; 8-смотровое отверстие; 9-патрубок для присоединения к газовой магистрали; 10-термодатчик клапана; 11-автоматика 630 EUROSIT; 12-зажигательная горелка; 13-пьезозажигалка; 14-терморегулятор; 15-термопара; 16-пусковой электрод; 17-дымоход.
Технические характеристики
| Наименование параметра | Данко-Бриз-3С |
| Вид газа | Природный ГОСТ 5542 Сжиженный ГОСТ 20448 |
| Максимальное давление природного газа, Па | 1764 |
| Номинальное давление природного газа, Па | 1274 |
| Минимальное давление природного газа, Па | 635 |
| Расход природного газа, м3/час | 0,35 |
| Расход сжиженного газа, м³/ч ±10% | 0,13 |
| Номинальная теплопроизводительность, кВт, ±10% | 3 |
| Диапазон регулирования температуры, °С ± 2 °С | 13 – 38 |
| Коэффициент полезного действия, % | 86 |
| Разжижение за аппаратом, Па | 25 |
| Отапливаемый объем, м3 | До 80 |
| Диаметр трубы для подвода воздуха в камеру сгорания, мм | 150 |
| Диаметр трубы для отвода продуктов сгорания, мм | 75 |
| Температура продуктов сгорания, °С, не менее | 110 |
| Диаметры подсоединительных патрубков, к системе газоснабжения, дюйм | G ½ В |
| Масса, кг, не более | 21 |
Нет отзывов о данном товаре.
Нет отзывов о данном товаре, станьте первым, оставьте свой отзыв.
Нет вопросов о данном товаре, станьте первым и задайте свой вопрос.